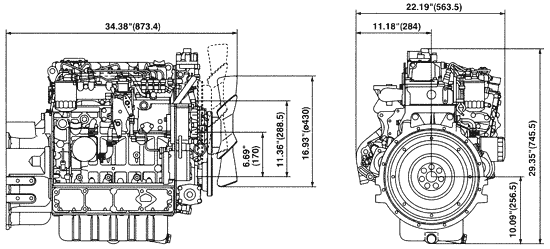
V3300-E

dimension